BYD sắp đưa về Việt Nam sedan hạng sang mạnh gần 1.000 mã lực, đi Hà Nội-Quy Nhơn chỉ trong một lần sạc

05/09/2024 03:45
Mẫu xe điện tới từ Trung Quốc được xem là đối thủ đáng gờm của Porsche Taycan và Mercedes-Benz EQS.

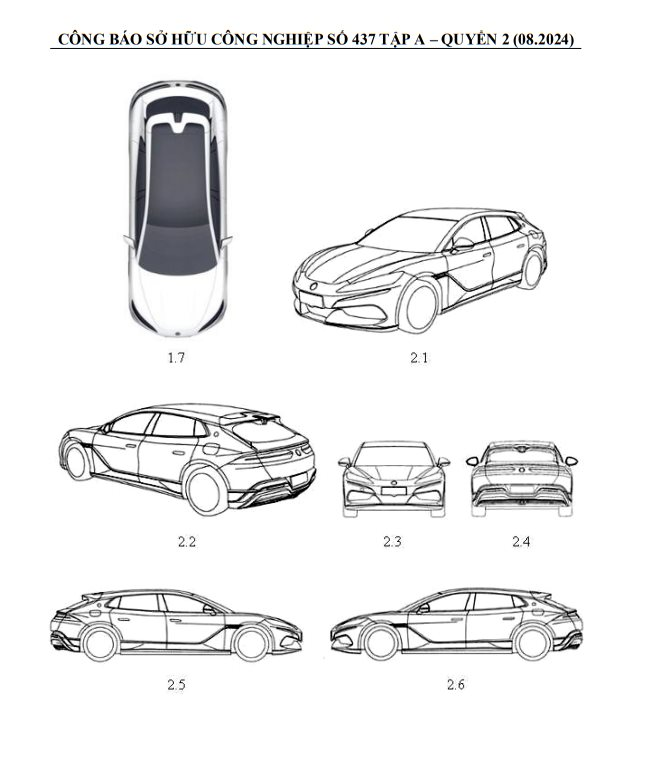
Tại Quyển 2 thuộc Công báo số 437 tập A tháng 8/2024 do Cục sở hữu trí tuệ Việt Nam đăng tải, xuất hiện một mẫu ô tô hoàn toàn mới được thương hiệu ô tô BYD đăng ký bản quyền kiểu dáng công nghiệp. Theo những hình ảnh được công bố, nhiều khả năng đây là mẫu xe điện cao cấp Denza Z9 GT. Được biết, Denza là hãng xe liên doanh giữa BYD và Mercedes-Benz, trong đó BYD nắm giữ 90% cổ phần.

Về kích thước tổng thể, Denza Z9 GT có thông số chiều dài x rộng x cao tương ứng là 5.180/5.195 x 1.990 x 1.480 (mm), trục cơ sở dài 3.125 mm. So sánh với Porsche Panamera, Z9 GT dài hơn 128 mm, rộng hơn 53 mm và cao hơn 57 mm.

Mẫu xe này được thiết kế bởi Wolfgang Egger, từng là nhà thiết kế chính cho thương hiệu xe sang Audi. Xe có thân hình mượt mà với phần nắp ca-pô dốc và mái xe nghiêng.

Bên cạnh đó còn có đèn pha dài, cụm đèn hậu liền khối, cửa không viền, tay nắm cửa có thể thu vào và tùy chọn camera thay thế gương chiếu hậu.

Denza Z9 GT có bốn màu sơn ngoại thất: bạc, trắng, xám và đen. Xe sử dụng mâm 21 inch với lốp trước 255/40 và lốp sau 275/40. Hệ thống treo khí nén là trang bị tiêu chuẩn tiêu chuẩn. Trục sau của Z9 GT có thể xoay tới 20 độ, giúp bán kính quay vòng chỉ 4,62 m.

BYD sắp đưa về Việt Nam sedan hạng sang mạnh gần 1.000 mã lực, đi Hà Nội-Quy Nhơn chỉ trong một lần sạc - Ảnh 1
BYD sắp đưa về Việt Nam sedan hạng sang mạnh gần 1.000 mã lực, đi Hà Nội-Quy Nhơn chỉ trong một lần sạc - Ảnh 2

Bên trong cabin, Denza Z9 GT nổi bật với hai tủ lạnh dành riêng cho hành khách phía trước và sau. Bảng điều khiển trung tâm có ba màn hình, trong đó một màn hình dành riêng cho hành khách phía trước. Gương chiếu hậu cũng tích hợp màn hình hiển thị.

Ngăn giữa sử dụng những chi tiết bằng sợi carbon, bao gồm hai bộ sạc điện thoại không dây 50W, cần số có thể tự động thu gọn, một bộ nút bấm cơ học và một cặp giá đựng ly. Vô-lăng bốn chấu dạng D-cut. Tủ lạnh phía trước có dung tích 4 lít với khả năng làm lạnh tới âm 6 độ C và làm nóng tới 50 độ C. Theo thông tin từ nhà sản xuất Denza, chiếc tủ lạnh này có thể chứa tới sáu chai Coca-Cola.

Hàng ghế thứ hai của Denza Z9 GT rộng rãi với màn hình cảm ứng độc lập điều khiển nhiệt độ. Ghế hàng thứ hai điều chỉnh điện, đi kèm các tính năng như sưởi, thông gió và massage. Tủ lạnh cho hàng ghế này có dung tích 10 lít, phù hợp để chứa bốn chai rượu. Ngoài ra, xe cũng được trang bị hệ thống âm thanh Devialet.

BYD sắp đưa về Việt Nam sedan hạng sang mạnh gần 1.000 mã lực, đi Hà Nội-Quy Nhơn chỉ trong một lần sạc - Ảnh 3
BYD sắp đưa về Việt Nam sedan hạng sang mạnh gần 1.000 mã lực, đi Hà Nội-Quy Nhơn chỉ trong một lần sạc - Ảnh 4
BYD sắp đưa về Việt Nam sedan hạng sang mạnh gần 1.000 mã lực, đi Hà Nội-Quy Nhơn chỉ trong một lần sạc - Ảnh 5
BYD sắp đưa về Việt Nam sedan hạng sang mạnh gần 1.000 mã lực, đi Hà Nội-Quy Nhơn chỉ trong một lần sạc - Ảnh 6

Denza Z9 GT có hai phiên bản là plug-in hybrid (PHEV) và thuần điện (BEV). Phiên bản PHEV được xây dựng dựa trên nền tảng e3 với hệ thống DM thế hệ thứ 5, bao gồm 1 động cơ xăng tăng áp 2.0L (203 mã lực) và 3 mô-tơ điện (1 ở phía trước và 2 ở phía sau).

Tổng công suất hệ thống này chưa được tiết lộ nhưng ước tính vào khoảng 1.000 mã lực. Phiên bản PHEV của Z9 GT có phạm vi hoạt động kết hợp lên đến 1.100 km.

Phiên bản thuần điện của Denza Z9 GT được phát triển dựa trên nền tảng e-Platform 3.0 Evo, cũng có ba mô-tơ điện với công suất tăng cường.

Công suất cực đại của bản này đạt 952 mã lực, phạm vi hoạt động là 630 km (theo thuẩn CLTC). Thời gian tăng tốc từ 0-100 km/h là 3,4 giây, nhanh hơn 0,2 giây so với phiên bản PHEV. Theo Denza, Z9 GT đã hoàn thành bài kiểm tra chướng ngại vật tốc độ 93,6 km/h, một con số mà không nhiều mẫu xe hiện nay làm được.

Tại thị trường Trung Quốc , xe điện Denza Z9 GT có 5 phiên bản với giá bán dao động từ 339.800 - 419.800 nhân dân tệ (tương đương 1,18 - 1,46 tỷ đồng).

Tin mới

Siết quy định an toàn tài chính với công ty chứng khoán, quản lý quỹ từ tháng 12/2025
8 giờ trước
Thông tư số 102/2025/TT-BTC được ban hành với mục tiêu tính các chỉ tiêu an toàn tài chính bao quát được rủi ro trong hoạt động của công ty chứng khoán, công ty quản lý quỹ.
Yên Nhật rơi mạnh nhất kể từ tháng 7 sau động thái của BOJ khiến thị trường thất vọng
8 giờ trước
Trong khi thị trường Nhật Bản mất niềm tin vào khả năng BOJ sẽ sớm tăng lãi suất khiến đồng yên sụt giá, thì Euro và bảng Anh giảm khi Ngân hàng Trung ương châu Âu (ECB) và Anh (BOE) giữ nguyên lãi suất.
Nghịch lý iPhone 17: Rớt giá chưa từng có sau 1 tháng, riêng một phiên bản siêu hot vẫn bị săn lùng
8 giờ trước
Chỉ hơn một tháng sau khi chính thức lên kệ tại Việt Nam, thị trường iPhone 17 series đang diễn ra một kịch bản hoàn toàn khác biệt. Tình trạng khan hàng, "ngáo giá" như mọi năm đã không xuất hiện, thay vào đó, nhiều model bắt đầu rớt giá mạnh.
“Đại tiệc” công nghệ âm thanh - ánh sáng PLASE SHOW trở lại Hà Nội
8 giờ trước
PLASE SHOW Hà Nội 2025 đánh dấu gần một thập kỷ đồng hành cùng ngành âm thanh – ánh sáng – sân khấu chuyên nghiệp Việt Nam
Thủ tướng Phạm Minh Chính: Dữ liệu phải lên sàn giao dịch
8 giờ trước
Chiều 1/11, chủ trì cuộc làm việc về xây dựng hành lang pháp lý, chính sách và thể chế để thúc đẩy hình thành và phát triển sàn dữ liệu Việt Nam, Thủ tướng Phạm Minh Chính nêu rõ phương châm: "Dữ liệu lên sàn, Nhà nước kiến tạo, doanh nghiệp tiên phong, công tư đồng hành, thị trường dẫn dắt, đất nước giàu mạnh, nhân dân hạnh phúc" và yêu cầu cơ bản hoàn thành cơ sở pháp lý, cố gắng vận hành thử sàn dữ liệu Việt Nam ngay trong tháng 11 này.

Tin cùng chuyên mục

8 xe ra mắt Việt Nam tháng 10/2025: Rẻ nhất 520 triệu đồng, đắt nhất hơn 13 tỷ đồng, từ sedan đến SUV, đủ động cơ xăng điện và hybrid
7 giờ trước
Thị trường ô tô Việt Nam trong tháng 10 đón nhận nhiều mẫu xe mới, với đa dạng phân khúc, mức giá và cả tùy chọn động cơ từ xăng, điện tới hybrid.
Jaecoo J7 AWD Individual chính thức ra mắt tại Việt Nam: Giá ưu đãi 799 triệu đồng, thêm hệ dẫn động 4 bánh
15 phút trước
Phiên bản dẫn động 4 bánh toàn thời gian của Jaecoo J7 vừa được giới thiệu tại Việt Nam, bổ sung lựa chọn cho phân khúc SUV hạng C với khả năng vận hành linh hoạt và nhiều trang bị hỗ trợ người lái.
Sâu 300m dưới lòng đất, phát hiện 1 triệu tấn đất hiếm sau 3 năm khảo sát
13 giờ trước
Tổng trữ lượng có thể lên đến 20 triệu tấn nhưng cần thực hiện thêm khảo sát.
Trung Quốc rót 143 tỷ USD quyết thâu tóm một lĩnh vực quan trọng của thế giới: Đầu tư mạnh tay từ Âu sang Á nhưng mới chỉ 25% dự án hoàn thiện
15 giờ trước
Các tập đoàn của Trung Quốc ở lĩnh vực xe điện và pin đã rót tới 143 tỷ USD vào các dự án ở nước ngoài.