Bước tiến mới từ Viện Trung tâm Zhukovsky
Trong kỷ nguyên mà mọi thiết bị đều được "thông minh hóa" bằng chip và cảm biến, các chuyên gia tại Trung tâm Nghiên cứu Quốc gia mang tên Zhukovsky (NITS) đã chọn một lối đi riêng đầy táo bạo. Họ vừa công bố việc phát triển thành công hệ thống làm mát tự điều chỉnh cho động cơ tuabin khí mà hoàn toàn không phụ thuộc vào các thiết bị điều khiển điện tử. Thành tựu này không chỉ là một cải tiến kỹ thuật đơn thuần mà là một lời giải thông minh cho bài toán độ bền trong môi trường khắc nghiệt. Việc loại bỏ hệ thống điện tử điều khiển làm mát giúp động cơ giảm thiểu rủi ro hỏng hóc do nhiệt độ cao, đồng thời tối ưu hóa khối lượng và độ tin cậy của toàn bộ hệ thống hàng không.

Cơ chế "trí thông minh vật liệu" thay thế chip điều khiển
Nguyên lý cốt lõi của công nghệ này nằm ở khả năng kiểm soát lưu lượng khí làm mát đi vào các cánh tuabin. Thông thường, ở các động cơ truyền thống, lượng khí làm mát được thiết lập cố định hoặc điều khiển qua các van điện tử. Tuy nhiên, trong môi trường nhiệt độ cực cao, các cảm biến điện tử thường đối mặt với nguy cơ sai số hoặc hư hỏng.
Giải pháp của Zhukovsky là sử dụng vật liệu có hiệu ứng ghi nhớ hình dạng hoặc các cấu trúc lưỡng kim đặc biệt. Khi nhiệt độ dòng khí thay đổi, các chi tiết trong hệ thống làm mát sẽ tự động biến dạng cơ học để đóng hoặc mở các khe dẫn khí.
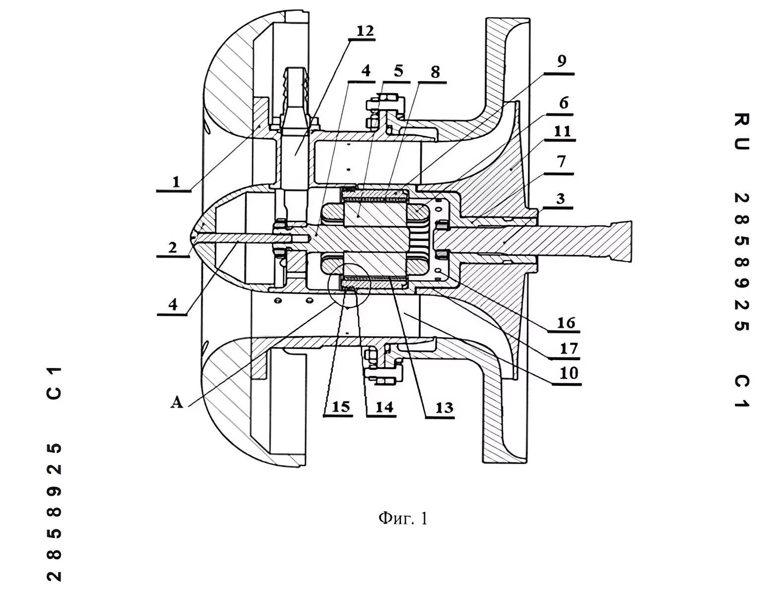
Thiết kế dựa trên bố cục máy phát khởi động được thiết kế lại với rôto hình "cốc" và stato đồng tâm được đặt trong một vỏ bọc trung tâm. Giải pháp này cho phép giảm kích thước theo trục và điều chỉnh mô hình luồng khí làm mát.
Không khí nén từ máy nén được làm lạnh sơ bộ đến nhiệt độ dưới 100 °C và đi vào khoang trung tâm thông qua các thanh giằng xuyên tâm của vỏ máy.
Luồng khí sau đó chia thành hai mạch. Mạch thứ nhất làm mát mặt trước của cuộn dây stato thông qua một khe hở dọc trục với gioăng kín kiểu mê cung. Mạch thứ hai được dẫn đến vùng phía sau, nơi nó đi qua các kênh hình vòng và xuyên tâm, làm mát nam châm và mạch từ của rôto.
Phản ứng tức thì: Hệ thống phản hồi trực tiếp với nhiệt độ mà không cần thông qua bước xử lý tín hiệu trung gian.
Độ tin cậy tuyệt đối: Loại bỏ hoàn toàn các lỗi phần mềm hoặc chập cháy mạch điện trong điều kiện vận hành cường độ cao.
Tự cân bằng: Hệ thống luôn duy trì trạng thái nhiệt lý tưởng cho các bộ phận quan trọng nhất của động cơ.

Tối ưu hiệu suất và kéo dài tuổi thọ động cơ
Việc tiết chế lượng khí làm mát một cách chính xác mang lại lợi ích kép về cả kinh tế lẫn kỹ thuật. Khi động cơ hoạt động ở chế độ tải thấp, hệ thống sẽ tự động giảm lượng khí trích từ máy nén để làm mát. Năng lượng tiết kiệm được từ việc giảm trích khí này được chuyển trực tiếp thành lực đẩy, giúp tăng hiệu suất nhiệt động lực học của động cơ thêm đáng kể.
Bên cạnh đó, việc giữ cho nhiệt độ các cánh tuabin không bị quá nhiệt cũng như không bị "làm lạnh quá mức" giúp giảm ứng suất nhiệt. Điều này giúp kéo dài tuổi thọ vật liệu, giảm tình trạng mỏi nhiệt và rạn nứt bề mặt cánh tuabin. Nó còn có tác dụng giảm chi phí bảo trì do chu kỳ thay thế các linh kiện chịu nhiệt được kéo dài hơn so với các thiết kế cũ. Bên cạnh đó, sự thay đổi này giúp tiết kiệm nhiên liệu: Việc tối ưu hóa dòng khí làm mát giúp giảm mức tiêu hao nhiên liệu tổng thể trên mỗi giờ bay.
Tầm nhìn tương lai của ngành động cơ hàng không
Sự thành công của Viện Zhukovsky đã chứng minh rằng: Đỉnh cao của công nghệ đôi khi là sự giản lược hóa. Trong bối cảnh Nga đang nỗ lực tự chủ công nghệ hàng không hoàn toàn, việc phát triển được các hệ thống cơ-nhiệt tự vận hành giúp họ thoát khỏi sự phụ thuộc vào các linh kiện bán dẫn phức tạp vốn đang bị thắt chặt về cung ứng toàn cầu.
Hệ thống làm mát không điện tử này được kỳ vọng sẽ trở thành tiêu chuẩn mới trên các dòng động cơ tuabin khí thế hệ tiếp theo, phục vụ cho cả mục đích dân dụng và quân sự. Nó mở ra một hướng nghiên cứu mới về "vật liệu thông minh" – nơi bản thân vật chất đảm nhận vai trò của cả cảm biến lẫn bộ điều khiển.
Với bước đột phá này, Viện Zhukovsky không chỉ tái khẳng định vị thế của nền khoa học hàng không Nga mà còn mang đến một tư duy thiết kế mới: Tin tưởng vào sức mạnh của vật lý thuần túy để tạo ra những cỗ máy hoạt động bền bỉ trong những điều kiện khắc nghiệt nhất của bầu trời.