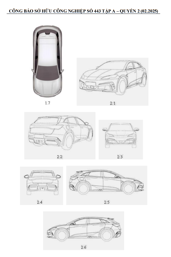
Tại Quyển 2 thuộc Công báo số 443 tập A do Cục sở hữu trí tuệ Việt Nam vừa được đăng tải, xuất hiện một mẫu xe ô tô mới được Công ty BYD đăng ký bản quyền kiểu dáng công nghiệp. Những tháng gần đây, BYD liên tục đăng ký bản quyền những mẫu xe mới, cho thấy nỗ lực đẩy mạnh hoạt động của thương hiệu Trung Quốc tại Việt Nam.
Theo những hình ảnh được công bố, đây là mẫu hatchback chạy điện, nằm ở phân khúc lai giữa 2 mẫu đang bán tại Việt Nam là Seal và Dolphin, có tên BYD Seal 06 GT. Tại Trung Quốc, xe có bốn phiên bản, với mức giá từ 136.800 – 186.800 nhân dân tệ, tương đương 479 triệu đồng đến 655 triệu đồng.


BYD Seal 06 GT có kích thước ở tầm phân khúc hạng D, 4.630 x 1.880 x 1.490mm và chiều dài cơ sở 2.820mm. Mặt trước sử dụng thiết kế lưới tản nhiệt khép kín nằm thấp, kết hợp với cụm đèn pha hẹp và dài. Phần dưới được kết hợp với lưới tản nhiệt hình tổ ong có thể đạt được khả năng quản lý nhiệt chủ động. Phía sau có cảm giác xếp lớp tốt. Đèn hậu có hình dạng lượn sóng, gợi nhớ đến dòng xe Ocean của BYD . Logo BYD cũng có thể được thắp sáng.
Tùy thuộc vào các phiên bản, trọng lượng không tải là 1850 kg, 1940 kg hoặc 2060 kg. Bán kính quay vòng tối thiểu là 5,6 m. Nhìn từ bên hông, thiết kế mái treo phổ biến và tay nắm cửa ẩn không hề vắng mặt. RWD chạy trên lốp 225/50 R18 làm tiêu chuẩn trong khi AWD chạy trên lốp 235/45 R19 và kẹp phanh màu đỏ.


Bên trong, BYD Seal 06 GT được trang bị hệ thống buồng lái thông minh DiLink 100 của BYD , có màn hình điều khiển trung tâm xoay 12,8 inch (chỉ dành cho phiên bản cơ bản) hoặc 15,6 inch, bảng điều khiển LCD 10,25 inch, W-HUD 12 inch và 8 hoặc 12 loa.
Các cấu hình khác bao gồm cửa sổ trời toàn cảnh 1,57 m2, cập nhật OTA, đèn viền nội thất, cửa sau điện thông minh, sạc điện thoại không dây 50W, điều khiển bằng giọng nói và ghế chỉnh điện.
Về mặt an toàn, BYD Seal 06 GT được trang bị hệ thống hỗ trợ lái xe thông minh DiPilot 5 của BYD được thực hiện thông qua 6 hoặc 12 radar siêu âm, năm radar sóng milimet, bốn camera toàn cảnh và một camera lái xe thông minh, tùy thuộc vào từng phiên bản. Có 16 khả năng hỗ trợ lái xe bao gồm cảnh báo va chạm phía trước, giám sát điểm mù, cảnh báo khoảng cách bên hông và hỗ trợ đỗ xe , v.v.

Cả RWD và AWD đều được cung cấp. Tốc độ tối đa là 200 km/h. Có bốn chế độ lái được hỗ trợ: eco, sport, normal và snow. Chỉ có AWD mới được trang bị hệ thống mới nhất là iTAC (kiểm soát mô-men xoắn thông minh) của BYD .
RWD có hai tùy chọn động cơ đồng bộ nam châm vĩnh cửu phía sau: 160 kW (215 mã lực)/310 Nm và 165 kW (221 mã lực)/330 Nm. Thời gian tăng tốc 0 – 100 km/h: 7,5 giây Hai tùy chọn bộ pin BYD Blade (lithium iron phosphate): 59,52 kWh hoặc 72,96 kWh và phạm vi hoạt động CLTC tương ứng là 505 km và 605 km.
Hệ dẫn động bốn bánh toàn thời gian động cơ không đồng bộ AC phía trước 110 kW/200 Nm, động cơ đồng bộ nam châm vĩnh cửu phía sau: 200 kW/310 Nm. Thời gian tăng tốc 0 – 100 km/h: 4,9 giây. Bộ pin BYD Blade 72,96 kWh và phạm vi di chuyển CLTC tương ứng là 550 km.
Ngoài ra, các phiên bản cao cấp còn được trang bị nền tảng silicon carbide điện áp cao 800V, cung cấp thời gian sạc nhanh trong 20 phút để sạc từ 30% đến 80%.